El 21 de January 2014 | 11:08
Hace ya unas semanas pudimos ver una nueva patente de Sony en la que se dejaba ver un Playstation Move, o de diseño muy similar, con opciones táctiles, quizás registrado para ser la versión de PlayStation 4 del dispositivo, aunque por ahora no ha llegado al mercado.
Nueva versión
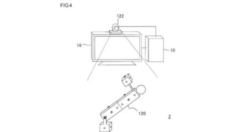
Unas semanas más tardes volvemos a encontrarnos diseños y registros de patentes relacionadas con un nuevo controlador por parte de la compañía. En este caso parece ser un Playsation Move modular, al que podemos cambiarle piezas para adaptarlo a estilos de juegos concretos que serán reconocidos por la Ps Eye.

El registro de la patente se llevó a cabo durante el pasado mes de Diciembre y, como decimos, permitiría a los usuarios cambiar elementos del mano de posición para que la cámara pueda reconocerlos y adaptarse a diversos estilos de juego.
Por ahora la compañía, al igual que en el caso del controlador con superficie táctil, no se ha pronunciado al respecto, por lo que deberemos esperar a los próximos eventos para ver si finalmente algunas de estas propuestas son presentadas de cara al público.