El 7 de September 2020 | 12:09
Sabemos de la compatibilidad de PS5 con PS4. Sin embargo, hasta el momento de escribir esta noticia PS5 no es compatible con sus hermanas mayores de sobremesa. ¿Pero qué tal si lo fuera con la variante portátil?
PS5 podría ser compatible con los modelos de consola portátiles de Sony
PS5 será lanzada con muchos accesorios nuevos que aprovecharán sus nuevas capacidades de hardware, pero también podría llegar a darse el caso de que también lo fuese con otras plataformas más antiguas de PlayStation. En agosto apareció una patente de Sony que inicialmente fue publicada en el mes de febrero (descubierta por el medio GameRant) y sugiere que la nueva consola podría ser compatible con los dos sistemas de juegos portátiles de Sony, la PSP y la PS Vita.

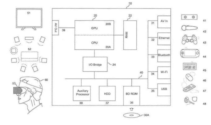
La patente repasa la compatibilidad con los accesorios y, en una imagen ilustrativa, muestra varios accesorios, que van desde un auricular PSVR y la cámara PlayStation hasta un teclado y ratón, un pad de control común de los de antes, y finalmente la PSP y la PS Vita. Ambos dispositivos portátiles también se mencionan explícitamente en la patente, así que no puede llevar a confusión
Es posible que el Remote Play esté de regreso junto con PS5, lo que explicaría por qué podría ser compatible con PS Vita, aunque la PSP, con solo una stick analógico y sin pantalla táctil y panel táctil trasero, tiene muchas menos opciones de entrada que PS Vita, por lo que su inclusión es particularmente interesante y plantea muchas preguntas y dudas.
Por supuesto, como es el caso de cualquier patente, no hay garantías de que esto acabe por materializarse y no podemos tomarlo como algo oficial, y simplemente podría tratarse de un modo de proteger las posibles ideas o proyectos futuros de Sony. En cualquier caso, de surgir cualquier novedad, os mantendremos informados así que estad atentos a la sección de noticias de Zonared.