El 30 de December 2019 | 10:41
Sony ya reveló algunas de las características de su nuevo controlador para PlayStation 5, el DualShock 5, como que el nuevo dispositivo incorporará feedback háptico, lo que se traduce en una mejora de la vibración, por poner un ejemplo. Y aunque existe información confirmada, podría ser que el nuevo controlador acabase incorporando más novedades de las que esperamos.

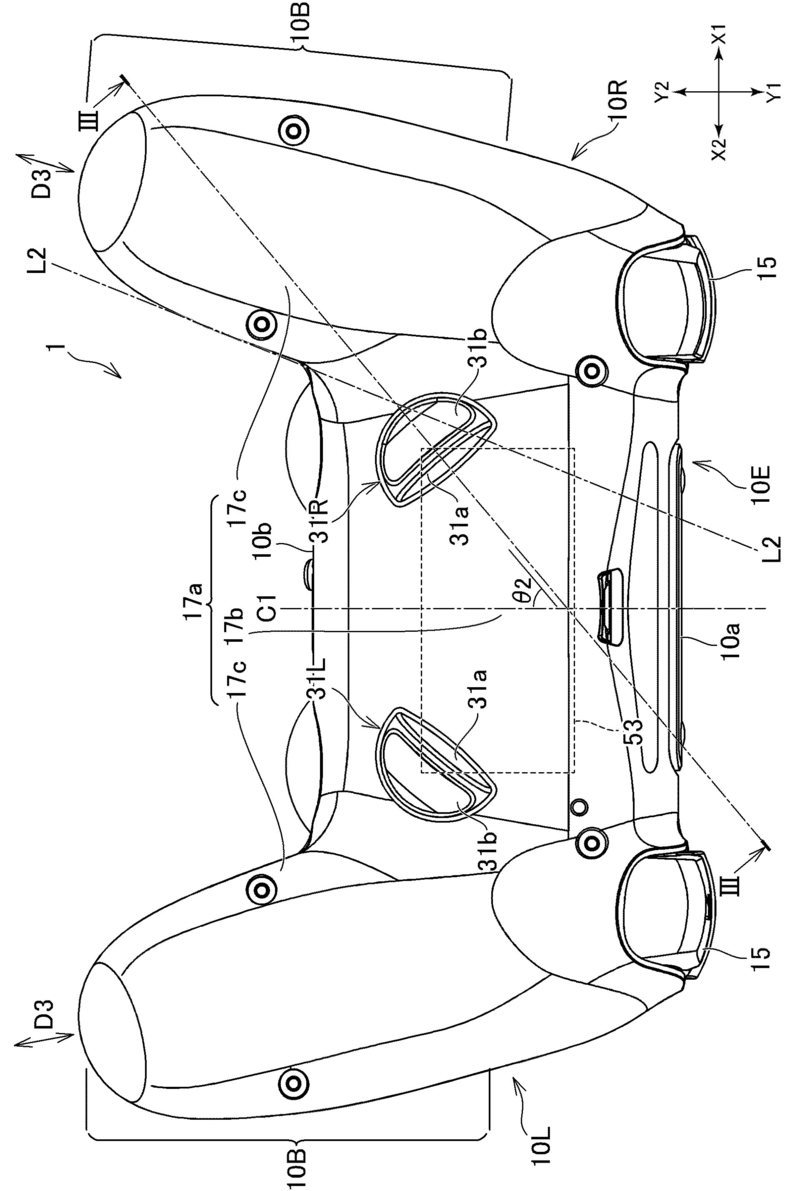
El 26 de diciembre, Sony registró una patente sobre un nuevo tipo de controlador para PlayStation. La patente se encuentra ya en la base de datos de la Organización Mundial de la Propiedad Intelectual (OMPI), pero no está del todo claro qué piensa hacer Sony con este nuevo concepto. El diseño en sí es similar al DualShock 4 al que la mayoría de los jugadores están acostumbrados. El nuevo pad tiene el mismo diseño para sus botones frontales, cruceta y sticks analógicos.
Gatillos extra
Pero es en la parte posterior del controlador donde las cosas empiezan a ponerse interesantes. La patente muestra dos botones nuevos similares a gatillos. Los nuevos botones parecen ser programables para asignarles la función de otros botones, por lo que los jugadores podrían mapear otras funciones trasladando cualquier otro botón a estos si lo desean. Los dos gatillos se ubican en la parte posterior del mando. Si bien parecen estar colocados directamente detrás de los sticks analógicos, se menciona que podrían acabar ubicados en otro lugar. Esto podría significar que el controlador es personalizable.
Si bien la patente se ha registrado recientemente, hay que señalar que el diseño propuesto cuenta con un puerto micro-USB en la parte superior del controlador, el mismo que el del DualShock 4, mientras que el controlador PlayStation 5 acabará por tener un puerto USB-C, lo que significa que la patente es anterior a la presentación oficial del mando. Pero tampoco hay que descartar que Sony esté planeando añadir estas mejores en la versión final.