El 5 de May 2016 | 03:46
Desde el pasado año sabemos que Nintendo va muy en serio con el mundo de los dispositivos inteligentes, los smartphones. DeNa y Nintendo firmaron un acuerdo cuyo contrato dictaba la realización de un mínimo de cinco juego / aplicaciones para iOS y Android que deberían estar disponibles en nuestros teléfonos móviles para antes de marzo de 2017. Por el momento conocemos tres de ellas ('Miitomo', 'Animal Crossing' y 'Fire Emblem'), pero todavía quedan dos más para tener constancia de todo lo que están preparando los de Kyoto para los smartphones de millones de personas.
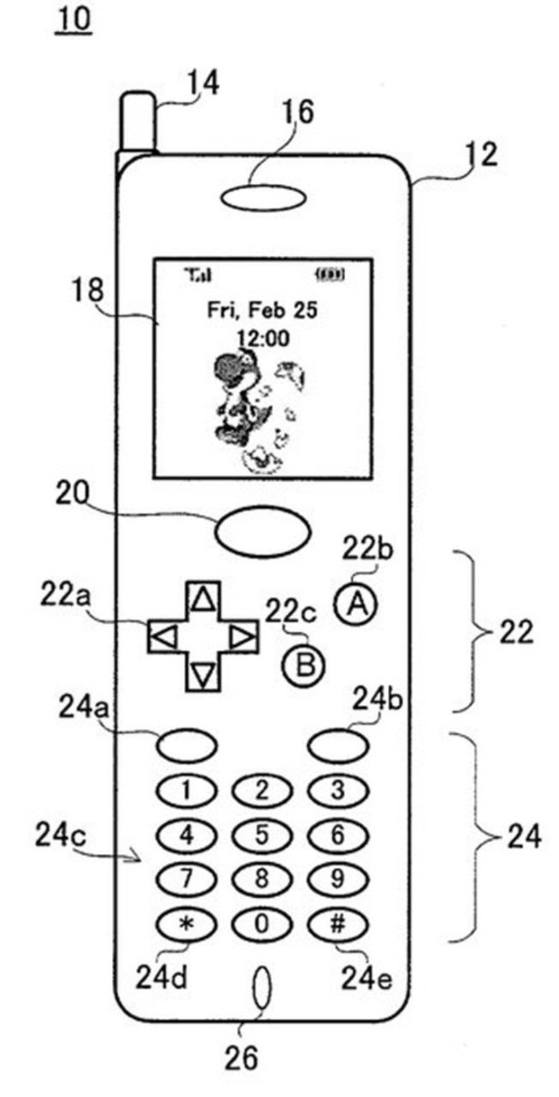
Como una Game Boy
Ahora bien, ¿acaso pensamos que es esto el principio? ¿Acaso creemos que Nintendo no había trasteado nunca con esta tecnología? Para nada, porque acaban de salir a la luz unas patentes que nunca llegaron a fraguarse en nada pero que nos dejan ver qué es lo que tenía la compañía de Yamauchi en mente por aquel entonces. Tal como podéis ver en las imágenes, el objetivo es que el teléfono fuese como una Game Boy, ya que además del teclado numérico habría incluido una cruceta y dos botones de acción.

La pantalla, como si la de una Game Boy se tratase, iba a tener también juegos incluidos como 'Super Mario Land' y demás juegos de la consola de Gunpei Yokoi, lo cual personalmente creo que habría sido un pelotazo en caso de fraguarse, pues la única diferencia que yo personalmente veo aquí es que esta Game Boy tiene una antena y permite llamar... Por lo demás, pocas cosas podemos decir.
Hubiese sido interesante ver el impacto de este dispositivo en el mercado, pero parece imposible que nunca lo sepamos. Eso sí, Nintendo está todavía a tiempo de sacar su próxima consola portátil con posibilidad de tener redes móviles. En unos meses -o años- saldremos de dudas. En este enlace tienes la fuente original de la información.