El 21 de November 2018 | 12:06
Disney quiere llevar la cultura Jedi más allá de las películas, series y libros sobre 'Star Wars que se han producido. La factoría ha registrado una patente cuyo protagonista es un sable láser igual a los que se puede ver en las películas, pero mucho más realista con respecto a los productos que se han comercializado hasta ahora. Su objetivo es crear un objeto de coleccionista como nunca antes.
Lo tienen todo pensado
Si Luke Skywalker se pudo hacer su propio sable en 'Star Wars: El retorno del Jedi', ¿por qué no iba a poder Disney lo mismo? Pues esos serían sus planes futuros según se ha podido extraer de un archivo de patentes que ha registrado la compañía. Gracias a Walt Disney World News, sabemos que en los documentos presentados se incluyen planos para la construcción de un arma muy parecida a los sables láser que se utilizan en la película. Estos serían mucho más realistas que cualquier otro que se haya fabricado hasta ahora.

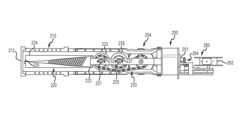
Las descripciones de los planos son bastante explicativas, aunque engorrosas, pero en definitiva, lo que quieren conseguir es crear un objeto que imite a la perfección lo que hacen las originales. Es decir, esta patente presenta una empuñadura capaz de desplegar una hoja que seguiría el mismo mecanismo que el de un metro. Al apretar un botón, una hoja retráctil aparecería para completar el sable. También se incluirían, obviamente, efectos de luz con LED e incluso sonidos que imiten a las originales.
Según WDWN, lo que quiere Disney es crear un objeto de coleccionista muy diferente a lo que se ha visto hasta ahora, lo que conlleva que tenga también un precio bastante elevado. El medio citado espera que esta espada llegue al mercado cuando se abra Star Wars: Galaxy Edge en los parques de atracciones de Disneyland y Disney World.